BMW 向世界智慧財產權組織(WIPO)提交一項新專利,將品牌標誌性螺旋槳 Logo 直接設計成螺絲頭。這設計雖然視覺效果出眾,卻可能讓喜歡自己動手維修汽車車主無從入手。
螺絲頭變成品牌標誌
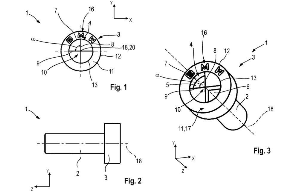
螺絲頭種類一直多樣,專業網站列舉常見螺絲頭樣式已有十多種,而這只屬最基礎部分。BMW 新專利令螺絲頭種類變得更豐富。這家德國汽車製造商於 2024 年夏天向 WIPO 提交專利申請,數天前正式公開。
專利涉及螺絲頭本身為品牌標誌,包括帶邊框 BMW 字樣及中間螺旋槳式標誌。發明人 Ernst Lorenz 在專利說明書開頭指出,螺絲並非新發明,從技術角度看早已是普及技術。不過 BMW 認為現有螺絲存在問題,驅動結構過於普遍,任何人均可輕易鬆開或扭緊螺絲連接。

(Source:WIPO)
限制未經授權人員操作
BMW 表示,透過將螺旋槳 Logo 作為結構,發明出一種具特定結構螺絲,無法或只能透過極少數標準螺絲工具扭緊和鬆開。這種設計有效防止常見工具拆卸或安裝螺絲,只允許小部分特定人員操作、拆卸或安裝螺絲連接。
專利文件顯示,這種螺絲主要用於車廂內部,例如駕駛艙與車身結構連接、中控台固定及座椅螺絲連接。這些 BMW 螺絲擁有多種不同螺絲頭形式,包括半圓頭、沉頭、圓柱頭,分為 4 種不同類型。
維修成本大增
對「未經授權人員」設立限制,同樣對業餘及自行維修車主造成不利,現有工具根本無法扭動這些螺絲。BMW 目前不打算向車主提供相應工具,否則將違背專利中強調應用原意。一旦需要對這些特殊螺絲固定部件進行維修或拆卸,車輛必須送往 BMW 授權經銷商或維修中心,這些維修點會配備所需專用工具。原本看似「型格」設計,隨即加重消費者負擔。
國際汽車媒體 Supercar Blondie 指出,此舉符合汽車行業限制維修大趨勢,製造商日益使用專有零件、鎖定軟體、加密 ECU 及受限診斷工具限制誰可維修車輛,即使電池更換或煞車維修等基本任務也可能需要經銷商授權。
值得留意是同為德國品牌 Mercedes 正朝相反方向發展。Mercedes 目標讓車頭燈維修變得更容易,改用螺絲代替膠水固定。申請專利不代表技術定必在現實中應用,BMW 這項設計最終是否會推出仍有待觀察。
(本文由 Unwire HK 授權轉載;首圖來源:Flickr/作者 CC BY 2.0)






